Bằng sáng chế "AI chơi game hộ" của Sony gây sốt internet

Admin

11/01/2026 20:02

“Bóng mờ” AI có thể hướng dẫn, minh họa thao tác, thậm chí chơi thay người dùng khi cần thiết.

Một bằng sáng chế do Sony nộp hơn một năm trước vừa được chú ý trở lại, cho thấy hãng đang có ý tưởng về một “bóng mờ” AI có thể hỗ trợ người chơi khi gặp khó.

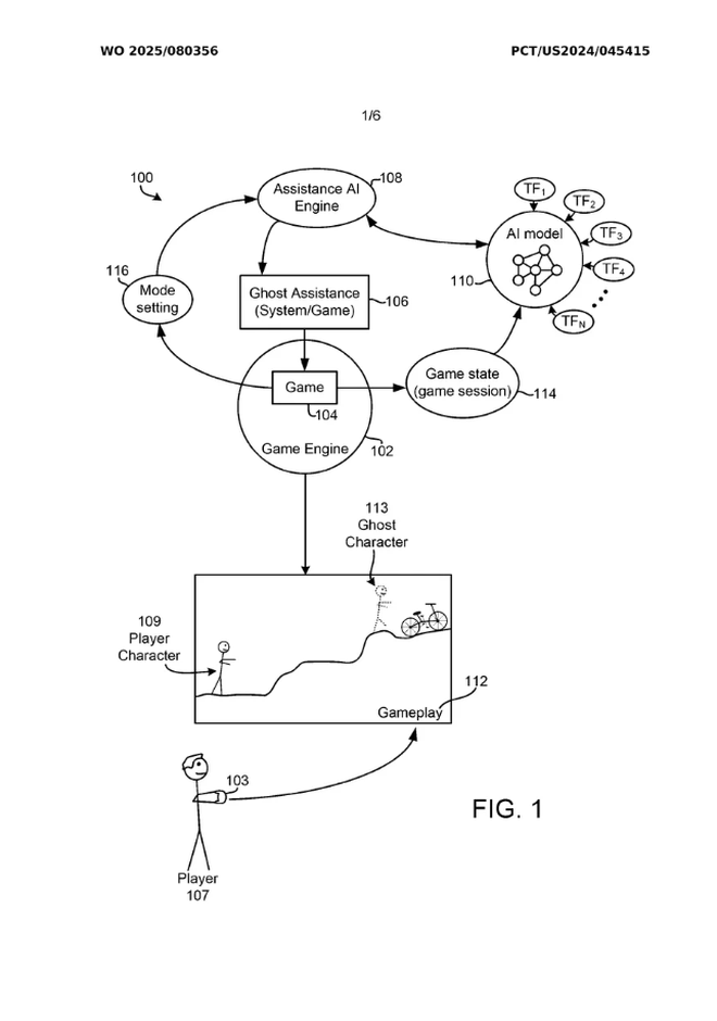
Bằng sáng chế nói trên mô tả một phiên bản ảo khác của nhân vật người chơi. Khi được kích hoạt, nhân vật overlay này có thể minh họa các hành động cụ thể, chẳng hạn như cách giải một câu đố, hoặc cung cấp “chuỗi ví dụ về thao tác nút điều khiển”, từ đó giúp người chơi tiếp tục tiến trình trong game.

Bằng sáng chế "AI chơi game hộ" của Sony gây sốt internet- Ảnh 1.

Returnal là tựa game "flagship" trên hệ máy PlayStation 5, được đánh giá là có độ khó cao - Ảnh chụp màn hình.

Trong một số trường hợp, “bóng mờ” AI còn có thể trò chuyện với nhân vật của người chơi và đưa ra những “hướng dẫn hoặc chỉ dẫn” về việc cần làm tiếp theo. Ở những tình huống khác, bóng hình này thậm chí có thể hoàn thành một phần nội dung thay cho người chơi. Ý tưởng này gợi nhớ đến sự phát triển nâng cao của tính năng Game Help trên PS5, vốn cung cấp mẹo và hướng dẫn thông qua video và hình ảnh hiển thị trên màn hình.

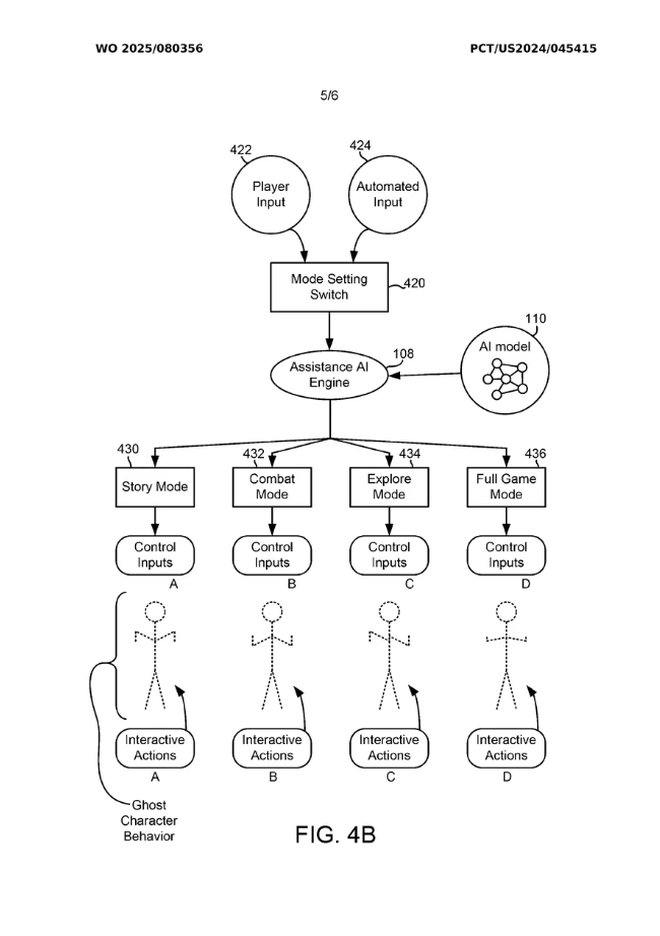
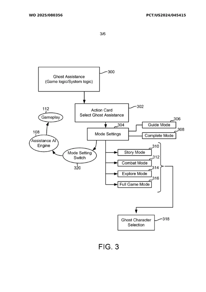
Một hình ảnh trong bằng sáng chế cũng mô tả cơ chế chuyển đổi chế độ, bao gồm bốn lựa chọn khác nhau để người dùng chọn: Story Mode, Combat Mode, Exploration Mode và Full Game Mode.

Bằng sáng chế "AI chơi game hộ" của Sony gây sốt internet- Ảnh 2.
Bằng sáng chế "AI chơi game hộ" của Sony gây sốt internet- Ảnh 3.
Bằng sáng chế "AI chơi game hộ" của Sony gây sốt internet- Ảnh 4.

Bằng sáng chế về AI chơi game hộ của Sony.

“Mặc dù công nghệ trò chơi điện tử đã có nhiều tiến bộ, một số người chơi vẫn cần sự hỗ trợ. Game ngày càng trở nên rất phức tạp, vì vậy những người chơi không phải chuyên gia thường bỏ cuộc hoặc gặp khó khăn trong việc hoàn thành nhiệm vụ”, nội dung hồ sơ nêu rõ.

“Người chơi có thể tự nghiên cứu hoặc tìm kiếm video chơi game trước đó trên Internet, nhưng quá trình này tốn thời gian và nhiều khi không thực sự liên quan đến nhiệm vụ hay tình huống mà người chơi đang gặp phải”. Nhiều khả năng chúng sẽ được huấn luyện dựa trên các đoạn gameplay có sẵn của từng trò chơi cụ thể trên nền tảng PlayStation.

Hỗ trợ trong game, dĩ nhiên, không phải là điều mới mẻ. PS5 đã có Game Help, trong khi Microsoft cũng sở hữu tính năng Copilot AI riêng. Bên cạnh đó, nhiều trò chơi từ lâu đã tích hợp các tùy chọn nhằm tăng khả năng tiếp cận cho nhiều đối tượng người chơi khác nhau, dù họ gặp vấn đề gì: từ điều chỉnh độ khó, chế độ cho người mù màu, cho đến các hệ thống gợi ý trong game.

AI vẫn là một chủ đề gây tranh cãi trong ngành công nghiệp game. Năm 2024, một báo cáo của Unity cho biết 62% các studio sử dụng công cụ của hãng đã dùng AI ở một giai đoạn nào đó trong quá trình phát triển, trong đó hoạt họa là trường hợp sử dụng phổ biến nhất. Một khảo sát của GDC cùng năm cho thấy khoảng một phần ba nhân sự trong ngành đã sử dụng công cụ AI. Con số này hiện nhiều khả năng đã cao hơn, khi một khảo sát gần đây tại Tokyo Games Show cho thấy hơn một nửa các công ty game Nhật Bản đang sử dụng AI trong phát triển.

Bạn đang đọc bài viết "Bằng sáng chế "AI chơi game hộ" của Sony gây sốt internet" tại chuyên mục Công nghệ - Xe. Mọi bài vở cộng tác xin gửi về địa chỉ email ([email protected]).